“磁悬浮技术”是巧妙运用“同性相斥,异性相吸”的特性,以磁力克服重力使物体悬浮的一种技术;据称,目前共有三种“磁悬浮技术”:一是以德国为代表的“常导磁悬浮”技术,二是以日本为代表的“超导电动磁悬浮技术”,这两种磁悬浮都需要用电力来产生磁悬浮动力。而第三种,就是我国的永磁悬浮技术,它利用特殊的永磁材料,不需要任何其他动力支持。
1842年,英国物理学家Earnshow 就提出了“磁悬浮”的概念,同时指出:单靠永磁铁是不能将一个铁磁体在所有六个自由度上都保持在自由稳定的悬浮状态的。直至2002年加拿大哥伦比亚大学的戴维斯团队研发出了利用“永磁体悬浮技术”,悬浮体重力能够被所述磁性底座和所述磁性悬浮体之间产生的磁斥力所平衡,从而悬浮于所述底座上方的预定基准位置,利用悬浮体水平运动控制装置,将其设置在所述底座内,当所述底座上方悬浮的所述磁性悬浮体在水平方向上偏离所述基准位置时,控制所述磁性悬浮体返回所述基准位置。

广东省肇庆市衡艺实业有限公司(下称“原告”)获得200610065336.1发明专利,并分别在全国范围内展开专利维权达十余起,并获得胜诉。
2015年7月27日,原告向杭州中院起诉称:深圳市宏鑫拓普电子科技有限公司(被告)在阿里巴巴平台、天猫网络商城大量销售被控侵权产品,索赔50万元人民币及维权所需合理费用。
阿里巴巴公司答辩称:(1)阿里巴巴公司属于网络服务提供商,应当按照《侵权责任法》第36条第二款的规定免责;(2)原告发送律师函并未证明被告卖家已经构成专利侵权;(3)特别是涉案专利属于内部构造方面的发明专利,被告卖家仅仅上传图片,阿里巴巴没有侵权审查基础,无法做出侵权与否的判断。
被告委托北京市集佳律师事务所武树辰、李洪江律师出庭应诉,并提出了四方面抗辩主张:(1)CN1729614A现有技术抗辩;(2)禁止反悔原则抗辩,原因是在无效程序中,原告作为专利权人在意见陈述中主动缩小了涉案专利权利要求的保护范围,即:“该悬浮体为永磁性悬浮体而非电磁性悬浮体”;(3)权利要求保护范围的解释应当限定为“一个环形永磁铁”,虽然涉案专利采用“包括”的开放式权利要求限定其技术方案,但是“对于开放式权利要求”,并不意味着应当将权利要求1中的“包括单一磁性、一个环形永磁铁”解释为“一个或者多个磁性、环形永磁铁”。事实上,权利要求1不仅限定了“单一磁性、一个环形永磁铁”,还限定了“该环形永磁铁上环型表面的磁性与所述磁性悬浮体的下磁性端的磁性相反”。如果将“单一磁性、一个环形永磁铁”理解为“一个或者多个”,那么会出现“多个环形永磁铁上环型表面的磁性与所述多个磁性悬浮体的下磁性端的磁性相反”,而这些技术方案不仅没有在涉案专利说明书、附图中记载,甚至会出现技术特征之间相互矛盾的情形,因此对于“一个环形永磁铁”应当解释为“包含一个或者多个”的理解不能支持;(4)权利要求1中的技术特征“悬浮体水平运动控制装置,设置在所述底座内,当所述底座上方悬浮的所述磁性悬浮体在水平方向上偏离所述基准位置时,控制所述磁性悬浮体返回所述基准位置”属于“功能性限定”,应当按照《司法解释一》第四条的规定,结合说明书和附图描述的该功能或者效果的具体实施方式及其等同的实施方式,确定该技术特征的内容。
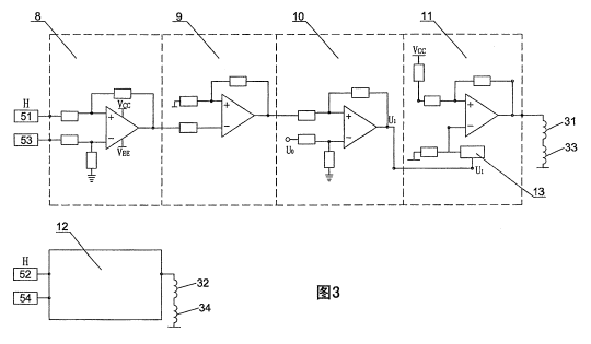
而涉案专利说明书给出了唯一的“具体实施方式”,即:悬浮体水平运动控制装置包括:①带铁芯的四个线圈31、32、33、34;②四个霍尔元件传感器(磁性传感器)51、52、53、54,分成两组分别控制两组线圈,进而控制悬浮体X、Y方向的自由移动;③在底座内还设置有控制电路板6,由完全相同的相对独立的控制电路12组成;④控制电路12也仅仅给出一个具体实施方式,即传感器电压接入减法电路8(检测电压值),经放大电路9(信号放大),与减法电路10的基准电压U0进行比较,输出到功放电路;当输出电压不为0时,进行励磁电流的调整。如下图:
.png)
而被控侵权产品技术方案由于原告怠于行使自身“证明责任”(司法鉴定)的前提下,根本没有比对对象。 2016年8月24日,杭州市中级人民法院签发一审判决:驳回原告的全部诉讼请求,案件受理费由原告全部承担。具体理由为:在专利侵权诉讼中,原告应负有证明侵权事实成立的举证责任,而被控侵权产品具有与原告所主张权利要求所载全部技术特征相同或者等同的技术特征是侵权事实成立的前提。由于原告因鉴定费用过高主动撤回了“司法鉴定申请”、撤回了“专家辅助人”申请,在功能性限定技术特征无法进行一一比对的前提下,不能判定被控侵权产品落入了涉案专利的保护范围,因此原告相同侵权主张不能成立。
案后,深圳市宏鑫拓普电子科技有限公司(被告)总经理沈欠辉先生向集佳律师事务所发来感谢信:“这是磁悬浮行业收到的第一份被告胜诉的判决书,非常感谢集佳同仁的无私付出。”